Jump to content
EUROPAS GROßE
SPORTWAGEN COMMUNITY

Auspufffrage für Mondial QV


icesnake

Empfohlene Beiträge

Geschrieben

hallo leute

passt dieser auspuff auf mein mondial cabriolet qv 3.0 Liter von 1985?

post-9528-14435325699808_thumb.jpg

Jetzt registrieren, um Themenwerbung zu deaktivieren »
Geschrieben

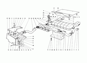
sieht nicht so aus laut dieser Exlusionszeichnung vom Mondial QV 3.0 Auspuff...

wobei wenn man sichs genau ansieht könnts doch passen ...

post-68912-14435325700553_thumb.gif

Geschrieben

das ist ja die krux, warum ist den der rechte teil so lange und auf der explosionszeichnung ist es nur kurz und geboben?

kann noch wer eine aussage machen?

Geschrieben

Der rechte Teil ist auch lang, siehe Teil 33 - das Rohr geht nämlich an den Endtopf.

Nur der ist etwas anders gebogen auf der Zeichnung.

EDIT: Ich behaupte mal, dass dieser Endtopf nicht passen wird. Das rechte lange Rohr sieht auf der Explosionszeichnung unterschiedlich aus - wobei das, wenn der Rest 100% passen würde, kein Problem ist so ein Rohr anfertigen zu lassen.

Geschrieben

danke dir, aber warum muss ich das hintere rohr den ändern, wenn ich nur den endtopf ranschrauben will. hat jemand eine explosionszeichnung vom 308 GTSi oder GTBi?

Geschrieben

Ich denke, dass das rechte Rohr durchgängig ist - vom Endtopf den du oben angezeigt hast.

Und in der Zeichnung ist es unterteilt, da ist noch ein Flansch dazwischen.

Geschrieben

das verstehe ich eben auch nicht, wenn ich die beiden explosionszeichnungen auf eurospares.co.uk anschauen (308 GTSi und Mondial QV) und vergeleiche, sind diese identisch.

der verkäufer hatte diesen auspuff an einem 308 GTSi, somit müsste das doch passen?

Geschrieben

Ich weiß nicht wie man diese Explosionszeichnungen des Werkstattahndbuchs - oder woher auch immer - bewerten kann, manchmal sind die bei anderen Herstellern, vorallem bei älteren Autos identisch, obwohl es zwei völlig unterschiedliche Fahrzeuge sind.

Wenn der Verkäufer nicht lügt, die beiden Zeichnung wirklich fahrzeuggetreu aufgezeichnet wurden, dann muss es ja passen.

Aber wenn ich die Zeichnung und das Bild angucke, passt es m.M.n nicht so ganz.

Ist immer so ne Sache mit den Auspuffanlagen.

Das Beste ist immer Eigenbau von einer Firma die sich auf sowas spezialisiert hat.

In der nähe von Köln z.B die Firma "Stüber" - die baut alles selbst. Als ich letztens noch da zu Besuch war, hatten die auch einen hübschen 355er auf der Bühne.

Wenn man wirklich sowas vorhat, vielleicht kann man dort mal eine Anfrage stellen.

Geschrieben

der auspuff passt nicht, der abgebildete mit dem langen rechten Rohr passt auf die GT4 und 308 GTS/GTB

Beim Mondial QV sind die Rohre gleich lang bzw kurz :)

Der Mondial hat auf der (von hinten gesehen) rechten Seite zwischen Topf und Krümmer noch ein geschwungenes Verbindungsrohr dass über die Antriebswelle geht :-))!

Mal ne Frage am Rande, wo gibts den abgebildeten Auspuff?

Geschrieben

danke dir für die antwort, sch**** aber auch :( den gibts bei ebay.co.uk für 499 Pfund.

kann man dieses rohr nicht abtrennen?

Anzeige eBay
Geschrieben
Geschrieben

Hallo icesnake,

 

schau doch mal hier zum Thema Zubehör für Ferrari 308 / 328 (Anzeige)? Eventuell gibt es dort etwas Passendes.

  • Gefällt Carpassion.com 1
Jetzt registrieren, um Themenwerbung zu deaktivieren »
Geschrieben

ich denke er passt:

- die Perspektive in der Exlplosionszeichnung ist verzogen

- der Verkäufer auf ebay hat am Endtopf die beiden Rohre 33 und 34 dran gelassen...Foto zeigt das "Langrohr" nicht wie/wo angeflanscht...ist es aber

- die Modellbezeichnung 308 GTBi / GTSi, wie der Verkäufer sagt, bezieht sich meiner Ansicht nach evtl. auf den 308 QV, Bj. 85

wenn dem so ist (nach fragen !)... dann passts :-))!

Gruß aus MUC

Michael

Geschrieben

Hallo Michael

Auf dich habe ich gewartet sowie gehofft, dass du dazu was schreibst! :-))!

habe den verkäufer kontaktiert und gebeten mir ein foto von der anderen seite zu schicken. ich denke wohl auch das der wirklich passen könnte. ich hoffe auch, dass er die rohrer angeflanscht gelassen hat, beim fotoshooting.

also du meinst der passt?

Geschrieben

ich bleib dabei, beim 308 GTSi is das Rohr zur hinteren Zylinderbank länger, beim Mondial QV ist ein stärker geschwungenes Stück dazwischen, das Teil wo über die rechte Antriebswelle geht :???:

  • 4 Wochen später...
Geschrieben

Hallo icesnake,

passt, passt nicht, passt nicht gibt es nicht

was nicht passt wird passent gemacht, so geht das

Habe meine Auspuffanlage selbst gebaut aus ein paar Rohren, bögen und

Endstücke aus Edelstahl vom Zübehörhandel.

Ein Schweissgerät und ab geht die Post.

Siehe selbst.:stolzbin:

Grüße Enzo

post-66017-14435326372015_thumb.jpg

Geschrieben

Hallo Enzo,

wo hattest du denn den Flansch her um den selfmade topf am Krümmer zu befestigen?

Dino

Geschrieben

Ciao Dino,

Es sind die Original Flansche am Kat, zwei runde Töpfe und die rechte Zyl-Bank geht links raus und die linke Zyl-Bank rechts.

Hier ein Bild vom ersten versuch vor 4 Jahren mit Ansa Endstücken.

Saluti Enzo

post-66017-14435326374437_thumb.jpg

  • 3 Wochen später...
Geschrieben
danke dir für die antwort, sch**** aber auch :( den gibts bei ebay.co.uk für 499 Pfund.

kann man dieses rohr nicht abtrennen?

die explusionszeichnung 308 gtsi

speed-components.de

post-68912-14435326707185_thumb.jpg

Archiviert

Dieses Thema ist archiviert und für weitere Antworten gesperrt. Erstelle doch dein eigenes Thema im passenden Forum.


×
×
  • Neu erstellen...