Jump to content
EUROPAS GROßE
SPORTWAGEN COMMUNITY

Konzentrischer Kupplungsnehmerzylinder


Schnittlauch

Empfohlene Beiträge

Geschrieben

Hallo,

an meinem Fahrzeug möchte ich einen konzentrischer Kupplungsnehmerzylinder eingebauen. Diese Kupplungsnehmerzylinder werden in fast allen aktuellen Fahrzeugen eingebaut und scheinen ausgereift zu sein. Es stehen Zylinder von QH, AP und Tilton zur Auswahl. Gerne würde ich einen QH-Zylinder einbauen, da diese über eine Staubschutzmanschette verfügen. Über die QH-Zylinder sind allerdings keine Daten (Grundfläche, Ausrückweg, Zentrierung) zu bekommen:(. Eine Alternative wären Zylinder von AP oder Tilton. Daten hierzu stehen im Internet:).

Wenn ich das richtig sehe, erfolgt die Abdichtung über einfache O-Ringe. Kann es sein, dass tatsächlich einfache O-Ringe eingebaut werden? Immerhin wird über den O-Ring axial verschoben. Und der O-Ring soll abdichten. O-Ringe waren mir bisher nur bei statischer Abdichtung bekannt. Gibt es Unterschiede der Abdichtungen bei den Anbietern? Wer kann etwas dazu sagen? Wer hat umgebaut? Für welchen Hersteller habt Ihr euch entschieden und warum? Wie sind Eure Erfahrungen?

Gruß Peter

Jetzt registrieren, um Themenwerbung zu deaktivieren »
Geschrieben

Hallo Peter!

Ich glaube nicht, daß es Probleme bei der Abdichtung des Kolbens zur Zylinderwandung geben wird, denn wahrscheinlich handelt es sich um O-Ringe mit einem eckigen Profil,ähnlich wie die O-Ringe in einem Bremssattel. Hierbei müssen die Dichtringe weitaus höheren Drücke standhalten. Bei einem Kupplungszylinder werden wahrscheinlich Drücke von kleiner als 10 Bar umgesetzt, während im Bremssystem Drücke von über 100 Bar wirken.

Gruß Manni308

Geschrieben

Hallo Manni,

danke für Deine Antwort. Das sehe ich genauso. Meine Bedenken: In einem Bremssattel bewegt sich der Kolben kaum. Der Kupplungsnehmerzylinder bewegt sich sehr oft, bis zu 18 mm. Kann sich der O-Ring verdrehen, klemmen? Bis jetzt habe ich noch nichts negatives über konzentrische Kupplungsnehmerzylinder gehört. Ich denke, ich werde den Umbau wagen. Im Anschluß berichte ich.

Gruß Peter

  • 1 Monat später...
Geschrieben

Hallo,

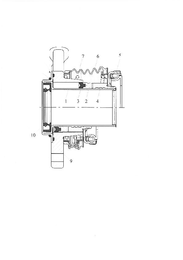
zwischenzeitlich habe ich einen konzentrischen Kupplungsnehmerzylinder (CSC) eines unbekannten Herstellers von einer befreundeten Werkstatt bekommen. Bild 1 zeigt den CSC. In Bild 2 ist der CSC zerlegt. Links das Drucklager, montiert auf dem Kolben, in der Mitte das Grundgehäuse und rechts das Führungsrohr, darunter die Dichtringe.

Um zu prüfen, ob der CSC verwendet werden könnte, folgende Berechnung: Es muß die Grundfläche des Kolbens festgestellt werden. Die Grundfläche des Außendurchmessers (44,6 mm) ist von der Grundfläche des Innendurchmessers (36 mm) abzuziehen. Es ergibt sich also eine Kolbenfläche von 544 mm².

Ich gehe davon aus, dass die Tellerfedern 6 mm eingedrückt werden, 2 mm würde ich von der Tellerfeder bis zum Drucklager vorsehen, zusammen also 8 mm. Der CSC würde dabei 4.353 mm³ Flüssigkeit aufnehmen.

Der Kolben meines Geberzylinder hat einen Durchmesser von 19,05 mm und kann 38 mm verschoben werden. Damit werden 10.825 mm³ verdrängt.

Ergebnis: Mein Kupplungspedal müßte etwa zur Hälfte durchgetreten werden. Um den vollen Pedalweg zu haben, müßte ich Geber- und Nehmerzylinder besser aufeinander abstimmen. Bei der ganzen Berechnung gehe ich davon aus, dass die Auflagefläche des Drucklagers an der Tellerfeder (hier Original 50 mm) nicht geändert wird.

Mal sehen wie es weiter geht. Hat jemand von Euch Erfahrungen mit so einem Umbau? Weiß jemand wie die Abdichtung des Kolbens bei dem CSC von der ZF-Sachs Race Engineering aussieht?

Gruß Peter

post-69359-14435338865277_thumb.jpg

post-69359-14435338868438_thumb.jpg

Geschrieben

Der Pedalweg ist aber stark abhängig vom Anlenkpunkt des Geberzylinders am Pedal.

Das Kupplungspedal macht ja nicht zwangsläufig den selben Weg, wie der Druckzylinder.

Gruß Manni308

Geschrieben

Hallo Manni,

da haben wir ein proportionales Verhältnis:D. Ausgehend vom oben abgebildeten Nehmerzylinder habe ich zum Fußdruckpunkt des Pedals zurückgerechnet. Bei einem Ausrückweg von 8 mm werden 4.353 mm³ Flüssigkeit benötigt. Mein Geberzylinder könnte 10.825 mm³ bei 38 mm Hub bereitstellen. Der Geberzylinder müßte 15 mm eingedrückt werden (naja, nicht ganz die Hälfte). Da sich der Anlenkpunkt des Geberzylinders proportional zum Fußdruckpunkt verhält, nicht ganz. ½ Pedalweg.

Meine Bedenken gehen immer noch in Richtung Kolbenabdichtung. Beim Nehmerzylinder, wie oben abgebildet, sind einfache O-Ringe (runde) eingebaut. Bei der unten angehängten Zeichnung ist ein O-Ring in Y-Form verbaut. Was ist besser?

Ich bleibe dran.

Gruß Peter

post-69359-14435339015891_thumb.jpg

  • 5 Wochen später...
Geschrieben

Eigentlich hatte ich ja nur eine kurze Frage..... . Die Zeit am PC macht sicherlich ein vielfaches der späteren Umbauzeit aus.

Quinton Hazel reagiert auf Anrufe und Mails überhaupt nicht:evil:. Von FTE würde ich Daten bekommen:-))!, wenn ich einen genauen Fahrzeugtyp angeben würde. Aber das kann ich nicht, da ich ja keine Daten habe. So dreht man sich im Kreis.

Es bleiben also nur die Hersteller, die ihre Daten im Internet veröffentlichen. Das wären Tilton, AP-Racing und ZF Sachs Race Engineering. Tilton paßt von den Abmessungen nicht richtig. Zu dem CSC von ZF Sachs Race Engineering habe ich, auch zu der Kolbenabdichtung, eine positive Rückmeldungen bekommen und das Teil bei Manthey-TZN bestellt. Den CSC von AP-Racing habe ich deswegen nicht weiter betrachtet. Jetzt warte ich den Eingang des Päckchens ab.

Gruß Peter

Geschrieben

Na da bin ich aber mal gespannt! :-))!

Mach mal ein paar Fotos von Deiner Aktion!:-))!

Gruß Manni308

Geschrieben

Geht klar. Päckchen ist da:-))!. Die waren richtig schnell. Fotos am Montag.

Geschrieben

Das Päckchen ist also angekommen. Vielen Dank an Manthey TZN (Technologiezentrum Nürburgring), und Herrn Breitbach, für die freundliche kompetente Beratung und schnelle Lieferung. Im Foto unten ist der CSC zu sehen. Bild zwei zweigt meine Kupplungsglocke. Die Planfläche war bereits vorhanden. Die Zentrierung nimmt das Getriebe auf. Als nächstes muß das Führungsrohr des seitherigen Ausrücklagers entfernt werden. @Manni, dann die nächsten Bilder.

post-69359-14435342508995_thumb.jpg

post-69359-14435342512088_thumb.jpg

  • 2 Wochen später...
Anzeige eBay
Geschrieben
Geschrieben

Hallo Schnittlauch,

 

schau doch mal hier zum Thema Zubehör für Technische Probleme (Anzeige)? Eventuell gibt es dort etwas Passendes.

  • Gefällt Carpassion.com 1
Jetzt registrieren, um Themenwerbung zu deaktivieren »
Geschrieben

Wie oben beschrieben, sollte jetzt das Führungsrohr des Ausrücklagers entfernt werden. Schraubt man die Frontplatte ab, stellt man allerdings fest, das Führungsrohr trägt den Wellendichtring (Bild 1). Um die Ortiginalteile nicht anzutasten, habe ich Ersatzteile besorgt, und das Ersatzführungsrohr gekürzt. Bild zwei zeigt Ersatz- und das Originalteil. Als nächstes müßte der Abstand von der Tellerfeder zur Planfläche am Getriebe gemessen werden. Das wird sich etwas verzögern, da mein Motor zur Revision ist. Brunoooooo, ........... . Die Zeit vertreibe ich mir mit Gartenarbeit.

post-69359-14435343478441_thumb.jpg

post-69359-14435343481592_thumb.jpg

Archiviert

Dieses Thema ist archiviert und für weitere Antworten gesperrt. Erstelle doch dein eigenes Thema im passenden Forum.


×
×
  • Neu erstellen...